Adaptor NPT For Cable Gland

product product
img img
IP Rating IP68
Certificates lECEx PRE 20.0123X
ATEX Presafe 20 ATEX 24571X
EAC RU C-IN.AA71.B.00212/20
Thread Type Metric and NPT
Protection Type Ex d, Ex e, Ex t
Material Brass (CuZn39Pb3), Stainless Steel (SS304/SS316L)
Ambient Temperature IECEx/ATEX : -55° C < Ta < +160° C EAC: -60° C < Ta < +130° C)

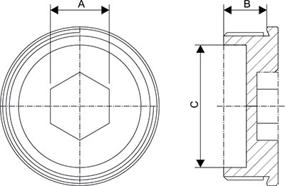
THREAD METRIC

ORDER CODE A B C
PLGOM M16 x 1.5 8 21
PLG1M M20 x 1.5 10 21
PLG2M M25 x 1.5 10 22
PLG3M M32x1.5 14 22
PLG4M M40 x 1.5 14 24
PLG5M M50 x 1.5 14 24
PLG6M M63 x 1.5 14 24
PLG7M M75 x 1.5 14 26
PLG8M M90x 1.5 14 26

THREAD NPT

ORDER CODE A B C
PLGON 3/8" NPT 8 11
PLG1N 1/2" NPT 10 14
PLG2N 3/4" NPT 10 15
PLG3N 1" NPT 14 18
PLG4N 1.1/4" NPT 14 19
PLG5N 1.1/2" NPT 14 19
PLG6N 2" NPT 14 20
PLG7N 2.1/2" NPT 14 30
PLG8N 3" NPT 14 31